
|
|
产品描述
细节设计
联系我们
步行式电动牵引车优势
·采用大容量的免维护电池;
·无级调速加速系统;
·采用美国CURTIS控制系统;
·有紧急制动的功能;
·适用室内、外平整的路面上;
·设计最大的爬坡度为5%;
·有低电压保护功能;
·有故障显示灯,便于诊断和维护;
·内置充电器;
·行车制动和停车制动采用大扭矩的电磁制动器。
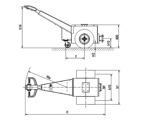
步行式电动牵引车详细参数
| 驱动方式 | 电动 | |
| 驾驶方式 | 步行式 | |
| 牵引重量 | kg | 1500 |
| 额定牵引力 | N | 300 |
| 轴距(y) | mm | 395 |
| 自重(带电瓶) | kg | 150 |
| 轴负载,空载时前/后轴 | kg | 107/43 |
| 轮子 | 橡胶,聚氨酯 | |
| 轮子尺寸(前轮) | 16×6.5-8.00(可选配充气或实心) | |
| 轮子尺寸(后轮) | 5″(可选配8″或10″) | |
| 轮,前后数量(x=驱动轮) | x2/1 | |
| 前轮轮距(b10) | mm | 557 |
| 后轮轮距 | mm | 0 |
| 操作手柄高度(h14) | mm | 890 |
| 总体长度(l1) | mm | 1695 |
| 车体宽度(b1) | mm | 722 |
| 轴距中心离地间隙(h10) | mm | 100 |
| 转弯半径(Wa) | mm | 1290 |
| 行驶速度(满载/空载) | km/h | 4.8/5.5 |
| 牵引力(满载/空载) | N | 300 |
| 最大牵引力(满载/空载) | N | 1000 |
| 行车制动 | 电制动 | |
| 驱动控制方式 | MOSFET | |
| 额定电压 | V/Ah | 24/80 |
| 电瓶重量 | kg | 51.2 |
| 电瓶尺寸(l/w/h) | mm | 259×169×215 |
| 驾驶员耳边噪音等级符合DIN12053 | dB(A) | 70 |
