
|
|
产品描述
细节设计
联系我们
·设计再繁,使用必简,还你自由!
·便捷,轻柔,自然,舒适
·省时,省力,省心,关键是省钱哦!
·具有平衡重式叉车和电动堆垛机的共同特征,这两种性能的结合,使得这种叉车具有操作灵活性和高载荷的优点,同时体积和自重不会增加很多,可以节省空间,减少转弯半径,适合于通道较窄的室内仓库作业。
·有利于设计仓库时采用较小的通道,可以提高仓库的利用效率。
性价比最高的一款前移式叉车:
·相比较目前市面上的进口前移式叉车,小钢炮既做到了配置上的相差无几,也做到了价格上的秒杀:是进口叉车价格的一半。
狭小空间作业:
·全球首发的一款MINI前移叉车,车身仅宽1090mm长2340mm,堆垛宽度也仅仅只需2610mm。
安全可靠;维护方便!
·符合国际安全标准,提供更多保护;方便维护保养,省时、省力、省钱。
·宽视野护顶架:防止异物下落,提供安全防护。
·舒适踏板:驻车制动、人知感应、减震功能,全方位保护。
·电池维护与更换:可前后移出,方便维护;可侧向拉出,方便更换。
·USB充电接口:个性化选择,可为手机及电子产品充电。
靓丽外形,操控优秀!最舒适的前移式叉车!
·工业造型设计,符合人机工程学;操控轻便自如,降低工作疲劳强度。
·迷你方向盘:转向轻便,舒适,狭小空间内自由转向。
·摩托式加速手柄:无极调速,操控自如。
·多路阀操纵杆:可单指操控,精确控制。
·可调节辅助踏板:可按个人使用习惯调节。
·柔软舒适的托垫,有效降低操作者的疲劳。
·自由选择适合您的乘驾方式,站驾or座驾。
强劲动力,高效作业!
·大功率设计,提供强劲动力源;多功能使用,保证高效循环作业。
·卓越的爬坡能力:动力强劲的电机和四支点车身结构提供出色的稳定性和优异的爬坡能力。
·门架前后移:更便于取货,多环境使用。
·货叉前后倾:保证取料方便,运输稳定。
·EPS电子转向:转向轻便,准确,行驶稳定,可靠。


| 特性 | 驱动形式 | 电动 | |||||||||
| 驾驶方式 | 座驾式 | ||||||||||
| 额定载荷(Q) | kg | 1500 | 2000 | ||||||||
| 载荷中心(C) | mm | 500 | 500 | ||||||||
| 前悬距(X) | mm | 446 | 446 | ||||||||
| 轴距(Y) | mm | 1460 | 1660 | ||||||||
| 重量 | 自重(不含电池) | kg | 1610 | 1670 | |||||||
| 桥荷 满载(前/后) | kg | 1135/2215 | 1120/2779 | ||||||||
| 桥荷 空载(前/后) | kg | 1185/665 | 1210/700 | ||||||||
| 轮子 | 轮胎 | 聚氨酯轮 | 聚氨酯轮 | ||||||||
| 驱动轮尺寸 | mm | 230×75 | |||||||||
| 承载轮尺寸 | mm | 210×85 | |||||||||
| 平衡轮尺寸 | mm | 125×60 | |||||||||
| 轮子数量(前/后)(x=驱动轮) | 1x-2/2 | ||||||||||
| 前轮距 | mm | 550 | |||||||||
| 后轮距 | mm | 985 | |||||||||
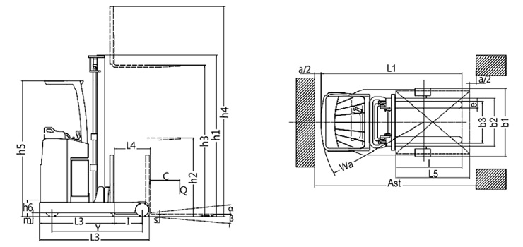
| 基本 尺寸 | 门架总高(货叉最低时)(h1) | mm | 1780 | 2030 | 2180 | 2430 | 2580 | 1839 | 2089 | 2239 | 2589 |
| 自由提升高度(h2) | mm | 85 | 90 | ||||||||
| 起升高度(h3) | mm | 2500 | 3000 | 3300 | 3700 | 4000 | 2500 | 3000 | 3300 | 4000 | |
| 最大高度(货叉最高时)(h4) | mm | 3441 | 3941 | 4241 | 4641 | 4941 | 3437 | 3937 | 4237 | 4937 | |
| 护顶架高度(h5) | mm | 2200 | |||||||||
| 踏板离地高度(h6) | mm | 260 | |||||||||
| 总长(L1) | mm | 2290 | 2490 | ||||||||
| 车体长度(L3) | mm | 1780 | 1980 | ||||||||
| 货叉前端面至前部距离(L2) | mm | 1220 | 1220 | ||||||||
| 总宽(b1) | mm | 1090 | |||||||||
| 导轨间内宽(b2) | mm | 772 | |||||||||
| 货叉尺寸(l/s/e) | mm | 1070/35/100 | 1070/40/100 | ||||||||
| 货叉外宽(b3) | mm | 200-730 | |||||||||
| 前移距离(L4) | mm | 580 | |||||||||
| 最小离地间隙(m) | mm | 55 | |||||||||
| 直角堆垛通道宽度,托盘1000×1200 (1000沿货叉边)(Ast) | mm | 2480 | 2680 | ||||||||
| 直角堆垛通道宽度,托盘800×1200 (1200沿货叉边)(Ast) | mm | 2610 | 2810 | ||||||||
| 转弯半径(Wa) | mm | 1660 | 1860 | ||||||||
| 货叉倾角(前/后)(α/β) | ° | 3/5 | |||||||||
| 性能 | 行驶速度(满载/空载) | km/h | 4.8/5.6 | ||||||||
| 提升速度(满载/空载) | m/s | 90/120 | |||||||||
| 下降速度(满载/空载) | m/s | 125/80 | |||||||||
| 最大爬坡能力(满载/空载) | % | 5/8 | |||||||||
| 制动方式 | 电磁制动 | ||||||||||
| 电机 | 驱动电机功率 | kw | AC 1.5/1.8 | ||||||||
| 提升电机功率 | kw | 2.2/3.0 | |||||||||
| 蓄电池电压/容量 | V/Ah | 24/240、280 | |||||||||
| 蓄电池重量 | kg | 240、260 | |||||||||
| 其他 | 控制方式 | 场效应管控制 | |||||||||
| 整车噪音 | dB(A) | <70 | |||||||||




